മോഡലുകള്ക്ക് ക്ലച്ച് ബൈ വയര് സംവിധാനമൊരുക്കാന് ഹോണ്ട; പേറ്റന്റ് ചിത്രങ്ങള് പുറത്ത്
സമീപകാലങ്ങളിലായി ഇരുചക്ര വാഹന വിപണിയിലും ഗണ്യമായ വളര്ച്ചയാണ് ഓരോ വര്ഷം കഴിയുംതോറും കാണാന് സാധിക്കുന്നത്. ഇതിന്റെ ഫലമായി ഈ രംഗത്തും ഇപ്പോള് മത്സരം കടുപ്പിക്കുകയാണ് നിര്മാതാക്കള്.

തങ്ങളുടെ മോഡലുകള്ക്ക് പുതിയ മാറ്റങ്ങളും ഫീച്ചറുകളും അവതരിപ്പിക്കുന്നതിനാണ് നിര്മാതാക്കള് ശ്രമിക്കുന്നത്. അടുത്തിടെ ഹോണ്ട തങ്ങളുടെ മോഡലുകളില് ബ്ലൂടൂത്ത് കണക്ടിവിറ്റി അവതരിപ്പിക്കുന്നത് സംബന്ധിച്ച് ഏതാനും വിവരങ്ങള് പുറത്തുവന്നിരുന്നു.

ഇതിന് പിന്നാലെയാണ് ഇപ്പോള് ജാപ്പനീസ് ബ്രാന്ഡ് തങ്ങളുടെ മോട്ടോര്സൈക്കിളുകള്ക്കായി ക്ലച്ച്-ബൈ-വയര് സിസ്റ്റത്തില് പ്രവര്ത്തിക്കുന്നതായി റിപ്പോര്ട്ടുകള് പുറത്തുവരുന്നത്. ക്ലച്ച് ലിവറും ക്ലച്ചും തമ്മിലുള്ള നേരിട്ടുള്ള ബന്ധം നീക്കംചെയ്യുന്നതിന് സിസ്റ്റം ഹൈഡ്രോളിക്, ഇലക്ട്രോണിക് തത്വങ്ങള് ഉപയോഗിക്കുന്നു.

മോട്ടോര് സൈക്കിളുകളുടെ കാര്യത്തില് ട്രാന്സ്മിഷന് വിഭാഗത്തില് പുതുമ കൊണ്ടുവരുന്ന ചുരുക്കം ചില നിര്മാതാക്കളില് ഒരാളാണ് ഹോണ്ട. ക്വിക്ക് ഷിഫ്റ്ററുകളും സ്ലിപ്പര് ക്ലച്ചുകളും അടുത്തിടെ വളരെ സാധാരണമായിത്തീര്ന്നിട്ടുണ്ട്, എന്നാല് 5 അല്ലെങ്കില് 6-സ്പീഡ് സീക്വന്ഷല് ഗിയര്ബോക്സിന്റെ അടിസ്ഥാന ആശയം ഇപ്പോള് പതിറ്റാണ്ടുകളായി മാറ്റമില്ലാതെ തുടരുന്നു.

സെമി ഓട്ടോമാറ്റിക് ഡ്യുവല് ക്ലച്ച് സിസ്റ്റം പരീക്ഷിച്ച ഹോണ്ട ഒഴികെ. ഇപ്പോള്, ബ്രാന്ഡ് അതിന്റെ മോട്ടോര്സൈക്കിളുകള്ക്കായി ഒരു ക്ലച്ച്-ബൈ-വയര് സിസ്റ്റത്തില് പ്രവര്ത്തിക്കുന്നതായിട്ടാണ് റിപ്പോര്ട്ട്. ഇത് വെളിപ്പെടുത്തുന്ന പേറ്റന്റ് ചിത്രങ്ങള് പുറത്തുവന്നു.

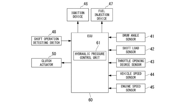
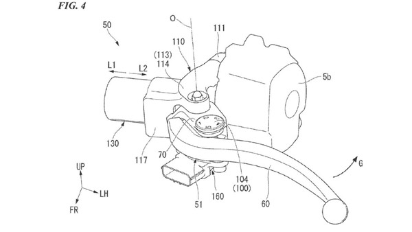
പേറ്റന്റ് ചിത്രങ്ങള് ഒരു പരമ്പരാഗത ഹാന്ഡില്ബാര് ഘടിപ്പിച്ച ക്ലച്ച് ലിവര് കാണിക്കുന്നു, അതിന്റെ സ്ഥാനം ഒരു പൊസിഷന് സെന്സര് ഇലക്ട്രോണിക് നിരീക്ഷിക്കുന്നു. ഇത് പിന്നീട് ഒരു ഹൈഡ്രോളിക് കണ്ട്രോള് യൂണിറ്റിലേക്ക് അയയ്ക്കുന്നു, ഇത് വാഹന വേഗത, എഞ്ചിന് rpm, ത്രോട്ടില് ഓപ്പണിംഗ് എന്നിവയുള്പ്പെടെ മറ്റ് വിവരങ്ങളുടെ ഒരു കൂട്ടം ലഭ്യമാക്കുന്നു. ഈ എല്ലാ ഡാറ്റയുടെയും അടിസ്ഥാനത്തില്, നിയന്ത്രണ യൂണിറ്റ് ക്ലച്ച് പ്രവര്ത്തിപ്പിക്കുന്നു.

കണ്വെന്ഷന് വിപരീതമായി, ക്ലച്ച് പ്ലേറ്റുകള് വിച്ഛേദിക്കുന്നതിനുപകരം അവരുമായി ഇടപഴകാന് ഹൈഡ്രോളിക് മര്ദ്ദം ഉപയോഗിക്കുന്നു എന്നതാണ് ഇവിടെയുള്ള പ്രധാന കാര്യം. ലിവറും ക്ലച്ചും തമ്മില് ഒരു ബന്ധവും ഇല്ലാത്തതിനാല്, ലിവര് പ്രവര്ത്തനം ആവശ്യമുള്ളത്ര ഭാരം കുറഞ്ഞതാക്കാന് ഹോണ്ടയ്ക്ക് സ്വാതന്ത്ര്യമുണ്ട്.

സാങ്കേതികവിദ്യയുടെ വ്യാപകമായ മുന്നോട്ടുള്ള വളര്ച്ച അനിവാര്യമാണ്. ഇത് അനാവശ്യമായി സങ്കീര്ണ്ണമാണെന്നും ഉല്പാദനച്ചെലവില് വളരെയധികം ചേര്ക്കുന്നുവെന്നും പലരും കരുതുന്നു.

ഈ സിസ്റ്റം ഒരു കേബിള്-ആക്യുവേറ്റഡ് സിസ്റ്റത്തേക്കാളും അല്ലെങ്കില് ഒരു പരമ്പരാഗത ഹൈഡ്രോളിക് ക്ലച്ചിനേക്കാളും കൂടുതല് ചെലവേറിയതാണ്. അതുകൊണ്ടാണ് ഹോണ്ടയുടെ ഗോള്ഡ് വിംഗിന്റെയും ആഫ്രിക്ക ട്വിന്റെയും മാനുവല് പതിപ്പുകള് പോലുള്ള കൂടുതല് പ്രീമിയം മോഡലുകളിലേക്കാകും ഈ ഫീച്ചര് കമ്പനി കരുതിവച്ചിരിക്കുന്നത്.

ഭാരം കുറഞ്ഞ ക്ലച്ച് പ്രവര്ത്തനം വാഗ്ദാനം ചെയ്യുന്നതിനൊപ്പം, ഈ ക്ലച്ച്-ബൈ-വയര് സിസ്റ്റത്തിന് മറ്റ് റൈഡര് എയ്ഡുകളായ ലോഞ്ച് കണ്ട്രോള്, പ്രകടനത്തെയോ സഹായിക്കുന്നതിന് ഒരു ദ്രുതഗതിയിലുള്ള ഷിഫ്റ്റര് എന്നിവയുമായി ചേര്ന്ന് പ്രവര്ത്തിക്കാനാകുമെന്നും റിപ്പോര്ട്ടില് പറയുന്നു.


Click it and Unblock the Notifications








